Vollständig integriertes Vierleiter-Temperaturmesssystem
In diesem Analogtipp stellen wir Ihnen eine Möglichkeit vor, wie Sie ein Vierleiter-Temperaturmessystem realisieren. Unser Beispiel bietet eine Kombination aus hoher Genauigkeit, niedrigem Stromverbrauch und geringen Störungen. Das System ist prädestiniert für hochpräzise Messungen sowie für stromsparende portable Geräte.
Anbieter zum Thema

Prozesse zur Herstellung verschiedener Güter benötigen hochpräzise und zuverlässige Temperaturmesstechniken. Die Messung der Temperatur findet dabei oft direkt statt. Hierzu eignen sich neben Thermistoren und Thermoelementen insbesondere Widerstandsthermometer (engl. Resistance Temperature Detector – RTD), da sie schnelle Reaktionszeiten sowie eine höhere Empfindlichkeit bis zu einigen hundert µV/°C aufweisen.
Darüber hinaus arbeiten sie über einen sehr großen Messbereich von –200 bis 800°C mit nahezu linearem Verhalten.

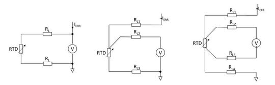
Für ein möglichst genaues Messsystem kommt es neben den Temperatursensoren zusätzlich auch auf die Auswahl der geeigneten Messinstrumente, den Systemaufbau und auch auf die Art der Messschaltung an. Je nach Anzahl der Leitungen können RTD-Sensoren in Zwei-, Drei- oder Vierleitermessschaltungen eingesetzt werden. Die verschiedenen Messschaltungen sind in Bild 1 gegenübergestellt.
Bei der Zweileiter-Messung werden die beiden Drähte, die das Widerstandsthermometer mit dem Erregerstrom versorgen, auch für die Messung der Spannung am Sensor verwendet. Bedingt durch den niedrigen Widerstand des Sensors führen relativ kleine Leitungswiderstände bereits zu relativ großen Messungenauigkeiten. Bei Dreileiter- oder Vierleiter-Messsystemen kann dieser Fehler minimiert werden, da die Erregung des Sensors über separate Leitungen erfolgt und die Messleitungen des Sensors direkt auf die Messgeräteeingänge gelegt werden, welche meist eine hohe Impedanz aufweisen.
Bedingt durch den geringen Spannungsabfall über das Widerstandsthermometer sind die Signale sehr störanfällig. Lange Messleitungen sollten daher möglichst vermieden werden. Durch Verstärkung der Spannung möglichst nahe der Signalquelle bzw. dem RTD lassen sich Störungen verringern. Zudem sollten zur weiteren Datenverarbeitung entsprechend empfindliche A/D-Wandler mit einem guten Signal-Rausch-Verhältnis verwendet werden.
Hierzu eignen sich beispielsweise Sigma-Delta-ADCs, wie die 24-Bit auflösende Serie AD7124. Sie bietet ein vollständig integriertes, rauscharmes analoges Frontend, das sich für hochpräzise Messungen eignet. Die Eingänge lassen sich wahlweise als differentielle oder als single-ended bzw. pseudo-differentielle Varianten konfigurieren. Ein integrierter digitaler Filter sowie eine programmierbare Verstärkerstufe ist für Anwendungen mit kleinen Spannungspegeln vorteilhaft.

Die in Bild 2 dargestellte Schaltung zeigt eine Vierleiter-Messung, wie sie exemplarisch mit dem AD7124 aufgebaut sein kann. Die analogen Pins AIN2 und AIN3 des AD7124 sind als differentielle Eingänge konfiguriert und messen die Spannung des RTDs. Über AIN0 wird der Erregerstrom für den RTD bereitgestellt, welcher intern von der analogen Versorgungsspannung UDD abgegriffen wird.
Der Erregerstrom fließt gleichzeitig durch den als Präzisionswiderstand ausgeführten Referenzwiderstand RRef1 und verursacht an diesem einen zum RTD ratiometrischen Spannungsabfall, der über die Referenzpins REFIN1(+) und REFIN1(–) detektiert wird.
Durch die ratiometrische Konfiguration wird sichergestellt, dass sich Abweichungen des Erregerstroms nicht auf die Genauigkeit des Gesamtsystems auswirken. RRef2 generiert eine Offsetspannung, die aufgrund der aktiven internen analogen Puffer des A/D-Wandlers für den korrekten Betrieb erforderlich ist. Die Puffer werden zur Filterung der Messwerte vor der A/D-Wandlung benötigt, durch die Antialiasing sichergestellt und Störanteile im Messsignal verringert werden.
Alternativ dazu wäre es ebenso denkbar, alle Analogeingänge wie auch die Referenzeingänge mit diskret aufgebauten RC-Filtern zu beschalten. Auch eine zur Minimierung von Verstärkungs- und Offsetfehlern erforderliche Kalibrierung des Messsystems (Null- und Messbereichs-Kalibrierung) vor dem Start der eigentlichen Messung lässt sich mit dem AD7124 durchführen.
Fazit
Mit AFEs wie der Serie AD7124 können RTD-Temperaturmesssysteme relativ einfach realisiert werden. Sie bieten eine Kombination aus hoher Genauigkeit, niedrigem Stromverbrauch und geringen Störungen, weshalb sie sich für hochpräzise Messungen sowie für stromsparende portable Geräte eignen. Zudem vereinfacht der hohe Integrationsgrad und die damit verbundene Flexibilität derartiger ADCs die Schaltung und verkürzt den Designzyklus verschiedener Messanwendungen (z.B. Temperatur, Strom, Spannung usw.).
* Thomas Brand arbeitet als Field Applications Engineer bei Analog Devices in München.
(ID:45932971)